项目介绍
思通舆情是一款功能全面的舆情监测系统,支持本地化部署一键安装。支持对海量的舆情数据进行交叉分析和深度挖掘,为用户提供全面的舆情数据,专业的舆情分析,快速的舆情处理等服务,提升企业品牌价值和风控能力。

应用场景
思通舆情系统适用于任何需要监测和分析网络舆论数据的组织和个人。通过系统提供的功能和服务,用户可以更好地了解公众意见和态度,为决策制定和业务发展提供数据支持。
核心功能
-
-
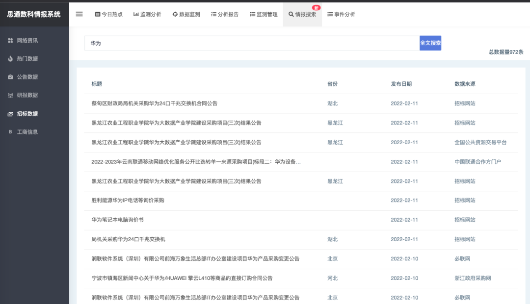
舆情监测:通过全文搜索、来源搜索、热搜监测等功能,实现对全网舆情的实时发现。 -
舆情预警:根据用户设置的预警条件,系统自动判别舆情信息,并通过多渠道及时通知用户。
-
-
舆情分析:提供全网事件分析、传播分析、竞品分析、评论分析等多种大数据分析功能。 -
舆情报告:支持一键快速生成日、周、月、季度报告,并自带行业舆情案例库供参考。
项目特点
-
用户可以快速获取和安装,同时系统按月发布新版本,持续迭代优化。 -
简单易用:系统操作界面友好,用户通过鼠标点击和拖拽即可完成大部分分析工作。 -
高效响应:系统支持超大数据量下的秒级查询返回,提升用户工作效率。
系统架构

功能架构

项目技术栈
数据采集

数据处理

数据分析

功能演示

版权声明:
1、本网站名称:帝企吧
2、本站永久网址:https://www.diqiba.com
3、本网站的文章部分内容可能来源于网络及作者投稿,仅供大家学习与参考,如有侵权,请联系站长进行删除处理。
4、本站一切资源不代表本站立场,并不代表本站赞同其观点和对其真实性负责。
5、本站一律禁止以任何方式发布或转载任何违法的相关信息,访客发现请向站长举报。
6、本站资源大多存储在云盘,如发现链接失效,请联系我们我们会第一时间更新。
7、本站所有资源来源于互联网,仅用于学习及参考使用,切勿用于商业用途,如产生法律纠纷本站概不负责! 8、资源除标明原创外均来自网络转载,版权归原作者所有,若侵犯到您权益请联系我们删除,我们将及时处理! 9、若您需使用非免费的软件或服务,请购买正版授权并合法使用!
1、本网站名称:帝企吧
2、本站永久网址:https://www.diqiba.com
3、本网站的文章部分内容可能来源于网络及作者投稿,仅供大家学习与参考,如有侵权,请联系站长进行删除处理。
4、本站一切资源不代表本站立场,并不代表本站赞同其观点和对其真实性负责。
5、本站一律禁止以任何方式发布或转载任何违法的相关信息,访客发现请向站长举报。
6、本站资源大多存储在云盘,如发现链接失效,请联系我们我们会第一时间更新。
7、本站所有资源来源于互联网,仅用于学习及参考使用,切勿用于商业用途,如产生法律纠纷本站概不负责! 8、资源除标明原创外均来自网络转载,版权归原作者所有,若侵犯到您权益请联系我们删除,我们将及时处理! 9、若您需使用非免费的软件或服务,请购买正版授权并合法使用!

评论(0)